隨著各家手機廠商在科研領域上的大刀闊斧,各種專利研發也層出不窮,其中還不乏一些「腦洞大開」的技術。而作為手機行業專攻科研代表之一的OPPO,就為我們帶來了許多有趣的專利設計,比如前段時間曝光的一項名為「空中書寫軌跡識別方法、裝置、存儲介質及電子設備」的專利。

(OPPO「空中書寫軌跡識別方法、裝置、存儲介質及電子設備」的專利)
根據企查查提供的專利摘要顯示,該專利是通過各種設備和技術來實現空中寫字的效果,并提高空中書寫軌跡識別的準確率。如果這項專利技術得到實現,用戶不僅可以隔空在手機上留下各種文字信息,省去了直接觸摸屏幕的中間步驟,同時還能體驗到像電影或動漫一樣隔空寫字的科技感,可謂是做到了實用性和可玩性的完美兼顧。不過就我個人猜測,這項專利或許需要配合特定的工具才能使用,例如三星S Pen手寫觸控筆。

(三星S pen手寫觸控筆)
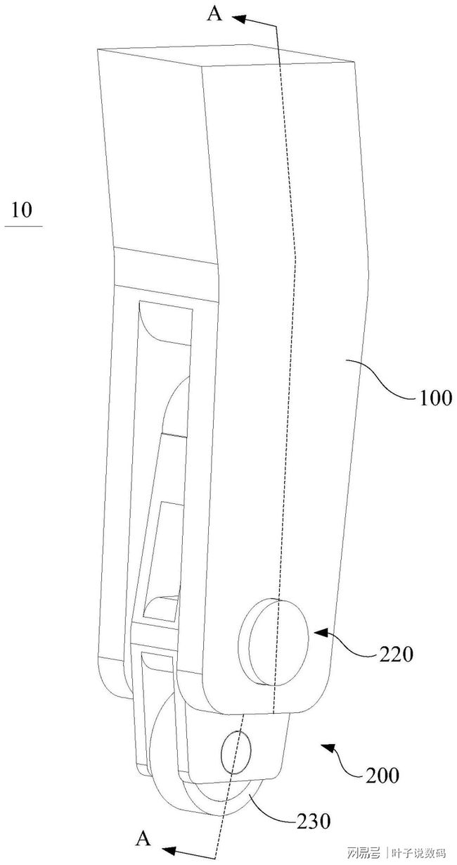
值得一提的是,OPPO在去年就公布了一款關于手寫筆的專利。據了解,OPPO這款智能手寫筆內置了電池與麥克風,并支持藍牙無線鏈接,不難猜出它應該適用于公司開會、學校課堂等場景。同時,這款智能手寫筆的收納槽和三星S pen有著較為明顯的區別,它將收納槽設置在手機的正上方,并且做到了無縫融合到機身的邊框中,讓消費者無法察覺到有手寫筆的存在。這種設計不僅可以不會對左右邊框造成影響,同時還可以完善上述提到的空中書寫專利變現的問題,可謂一舉兩得了。

(OPPO手寫筆專利)
除此之外,OPPO還擁有許多有趣的專利設計,比如近期公開的一項「機器人及其腿部組件」的專利就可以通過該腿部組件來設計一種可相對于腿部支架轉動的轉換支架,并在轉換支架的兩端設置不同的運動單元,轉換支架可在驅動單元的驅動下轉動,進而切換不同的運動單元與外部平面接觸,能夠根據不同的地面情況來改變其足底的工作狀態,看起來十分實用。

(OPPO機器人部件專利圖)
總的來說,OPPO在科研領域的成果是顯而易見的,無論是此前公布的「空中書寫軌跡識別方法、裝置、存儲介質及電子設備」和智能手寫筆專利,還是近期曝光的「機器人及其腿部組件」專利,都展現出了OPPO強悍的研發能力,并且這些專利還具有一定的趣味性。期待,未來OPPO可以研發出更多實用又好玩的專利,為用戶帶來更加趣味的生活。
來源:葉子說數碼
推薦閱讀: